|
|
BMW 7 Series (E32) Service Manual:
1988, 1989, 1990, 1991, 1992, 1993, 1994
Price: $199.95
|
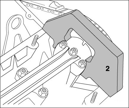
- Lock camshafts at TDC using BMW special tool 11 3 190 (2, one tool per cylinder head).
117 Camshaft Timing Chain
page 117-13
![[B] Bentley Publishers](http://assets1.bentleypublishers.com/images/bentley-logos/bp-banner-234x60-bookblue.jpg)
