|
Volkswagen Jetta, Golf, GTI: 1993,
1994, 1995, 1996, 1997, 1998, 1999 Cabrio: 1995, 1996, 1997, 1998, 1999, 2000, 2001, 2002 (A3 Platform) Service Manual
Price: $149.95
|
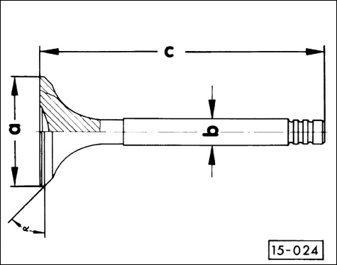
Fig. 18. Valve dimensions to be used with Table b.
Table b. Valve Dimensions
| Engine code | ACC | AAZ | AHU | ABA |
| Valve head diameter (a) intake exhaust |
38.0 mm (1.496 in.) 33.0 mm (1.299 in.) |
36 mm (1.417 in.) 31.00 mm (1.220 in.) |
35.95 mm (1.415 in.) 31.45 mm (1.238 in.) |
39.5±0.15 mm (1.555±0.006 in.) 32.9±15 mm (1.295±006 in.) |
| Valve stem diameter (b) intake exhaust |
7.97 mm (0.3138 in.) 7.95 mm (0.3130 in.) |
7.97 mm (0.3138 in.) 7.95 mm (0.3130 in.) |
7.97 mm (0.3138 in.) 7.97 mm (0.3138 in.) |
6.97 mm (0.2744 in.) 6.95 mm (0.2736 in.) |
| Valve length (c) intake exhaust |
91.9+0/-0.90 mm (3.6181+0/-0.0354 in.) 91.2+0/-0.40 mm (3.5906+0/-0.0157 in.) |
95.0 mm (3.740 in.) 95.0 mm (3.740 in.) |
96.85 mm (3.813 in.) 96.85 mm (3.813 in.) |
91.85 (3.6161 in.) 91.15 mm (3.5886 in.) |
| Valve face angle (α) intake exhaust |
45° 45° |
45° 45° |
45° 45° |
44.4° 45.15° |
| Valve margin (e) |
N/A | 0.5 mm (0.020 in.) (intake valves only) |
N/A | N/A |
15a Cylinder Head and Valvetrain (4-Cylinder Engines)
page 15a-16
![[B] Bentley Publishers](http://assets1.bentleypublishers.com/images/bentley-logos/bp-banner-234x60-bookblue.jpg)
